非煤礦山尾礦安全環保處理方法
尾礦是礦山二次資源的重要組成部分,是礦石在經過粉碎、浮選、磁選等提取有用成分之后的礦渣,在當時條件下不宜再分選的礦山固體廢棄物,堆放在開采礦山附近修建的尾礦庫內。日積月累,堆存的尾礦數量越來越大。我國現有礦山尾礦庫2700多座,尾礦積存量約50億噸。而且還以每年約3億t的速度增加。隨著礦業開發規模的增大和入選礦石品位的降低,尾礦堆存的數量還將逐年增大。大量尾礦的堆存,不僅占用大量土地,造成礦產資源的浪費,而且對生態環境造成嚴重污染,同時還存在很大的安全隱患,山西臨汾新塔礦業有限公司尾礦庫潰壩事故就是一次血的教訓。
當前,我國礦山尾礦的綜合利用率還遠低于國際平均水平,尾礦的綜合利用有利于提高資源利用率,減少占用土地,保護和改善環境,隨著我國工業化、城鎮化和現代化建設的推進,礦產資源需求將持續大幅度增加,礦產資源供需矛盾日益突出,環境壓力越來越大。因此,在礦產資源領域中,積極推進礦產資源、工業廢物的綜合利用和再生資源的回收利用是建設節約型社會和發展循環經濟的重要環節。其中礦山尾礦的開發利用將是21世紀礦產綜合利用范圍最廣、潛力最大、經濟和社會效益最好的領域之一。
因此,對尾礦的治理和開發利用已成為21世紀世界各國共同關心的課題。尾礦處理廠家鄭州德森環境提供一種非煤礦山尾礦安全環保處理的方法,該方法通過磨粉粉碎、特別針對過濾器所設計的過濾方式、攪拌機攪伴進入燒磚機等工序將尾礦在封閉的狀態下加工、處理成建筑用材,實現安全環保處理非煤礦山尾礦的目的。
1、非煤礦山尾礦安全環保處理方法技術方案實現
非煤礦山尾礦安全環保處理方法,該方法包括裝設磨粉車間、過濾器、攪拌機、免燒磚機,該方法的工藝過程是:
1)首先將尾礦進入磨粉車間經粉碎機,通過粗磨、精磨工序,將磨礦中的金屬實現分級,并將尾礦磨粉50-60目;
2)將粉碎了的礦漿通過傳輸管道由高至低落入尾礦過濾器的進料口進入過濾器,過濾器傳動裝置經簡體上的齒條帶動過濾器簡體旋轉,進行過濾分離,或將礦漿再次進行金屬過濾分離;
3)渣泥在過濾器內的帶料板旋轉帶動下由高處滑落在滑板上,由過濾器的出料口滑出在傳輸管道上送入攪拌機中攪伴,攪伴時可視情況添加填料;
4)攪伴后的、或已經配好的渣泥料進入免燒磚機壓制成型,即可制成所需的建筑用材。
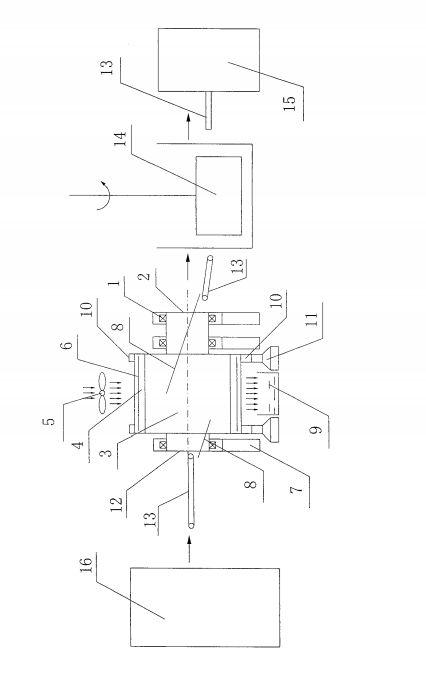
如上所述的非煤礦山尾礦安全環保處理方法,其所述過濾器包括軸承、簡體、帶料板、風機,濾網、支架、濾水槽、齒條、傳動裝置,過濾器內周簡體上設有條狀的有間隔、勻怖的帶料板,過濾器簡體兩邊制有筒狀的支撐筒臺,支架經軸承與其配合,支撐筒臺又為進料口、出料口,滑板成角度插入進出料口內,簡體內筒設有濾網,簡體的外壁上呈圓周的固定有兩圈齒條,傳動裝置與之配合,簡體的底部制有濾水槽,上部設有風機。
2、非煤礦山尾礦安全環保處理方法的優點與效果是:
a.本發明集選礦、粉碎、分級、過濾及后加工設備為一體,封閉式處理非煤礦山尾礦,其設備通用性強、可實現一機多用,其過濾器除可分級、過濾外,并且具有水回收裝置、系統有水循環系統,因此節約水資源,降低了生產成本。
b.本發明系統及設備的輸送尾礦方式,采用了重力落差遞減方式,極大的節約了動力輸送,減少了生產成本。
c.本發明系統及設備可根據礦漿成分,通過固液分離后渣泥變成用于制作磚和混凝土制品,調整其尾礦的粉碎和過濾顆粒的大小,可滿足配制多種建材原料。
3、非煤礦山尾礦安全環保處理方法系統流程示意圖。

圖中:1.軸承;2.出料口;3.簡體;4.帶料板;5.風機;6.濾網;7.支架;8.滑板;9.濾水槽;10-齒條;11-傳動裝置;12-進料口;13-傳輸管道;14.攪拌機;15-免燒磚機;16-磨粉車間。

企業新聞

