化糞池污泥處技術方案
目前國內外化糞池污水污泥處理處置污染嚴重。因不能及時清掏,化糞池經常出現堵、滲、漏、外溢問題。現有技術是采用吸污車將化糞池內的污物吸入吸污車的罐體內,由于化糞池內的污物脫水、除臭和滅菌困難,對化糞池內的污物的處理只能運輸到處理場處理或填埋或自然干化處理,現有技術的缺點是,存在二次污染,散發臭氣與傳播病菌,化糞池內的污物不能得到有效利用,化糞池污泥處理問題成為政府城市管理、環境保護的難題,同時也是本行業亟待解決的技術問題。
發明目的為克服現有技術中,化糞池內的污物脫水、除臭、滅菌困難和化糞池內的污物不能得到有效利用的技術問題,本發明公開一種化糞池污物處理方法及其處理設備,克服現有技術的不足。
本發明實現化糞池污物處理方法采用的技術方案是 :該方法采用以下工藝步驟 :
?。?)、將化糞池污物經剪切破碎后吸入攪拌處理容器中 ;
?。?)、在攪拌處理容器中將化糞池污物中加入絮凝劑進行攪拌,使化糞池污物中的固體物質聚合 ;
?。?)、將聚合后化糞池污物中的固體物質通過格柵篩進行濾水處理 ;
?。?)、將濾水處理后的化糞池污物中的固體物進入疊螺脫水機進行脫水處理,得含水率小于 80% 干化固體物質。
1、技術方案是 :
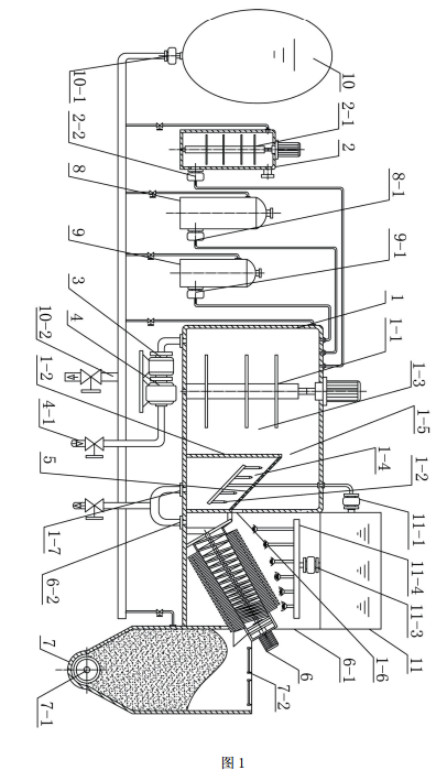
該處理設備包括 :攪拌處理容器、絮凝劑儲料容器、吸污泵、破碎機、濾水格柵篩、疊螺脫水機和料斗,所述的絮凝劑容器內設置有帶攪拌槳葉的絮凝劑攪拌軸,絮凝劑容器的出料口經絮凝劑給料泵與攪拌處理容器管路連通,所述的吸污泵出口與攪拌處理容器管路連通,吸污泵入口與破碎機的出口管路連通,破碎機的入口經化糞池污物吸入管與化糞池連通,所述的攪拌處理容器中設置有帶攪拌槳葉的污物攪拌軸,攪拌處理容器由隔板將攪拌處理容器分割成污物攪拌腔和濾水腔,隔板上端為聚合后化糞池污物的溢流口,在濾水腔內傾斜設置的濾水格柵篩,濾水格柵篩低端攪拌處理容器側壁上設置有污物出料口,污物出料口與疊螺脫水機的進料口對應,疊螺脫水機的出料口與料斗對應,濾水腔底部設置有濾水箱排水管。
2、附圖說明
附圖為本發明處理設備結構示意圖。
附圖中,1 攪拌處理容器,1-1 污物攪拌軸,1-2 隔板,1-3 污物攪拌腔,1-4 濾水腔,1-5 溢流口,1-6 污物出料口,1-7 濾水箱排水管 ;2 絮凝劑儲料容器,2-1 絮凝劑攪拌軸,2-2絮凝劑給料泵 ;3 吸污泵 ;4 破碎機,4-1 化糞池污物吸入管 ;5 濾水格柵篩 ;6 疊螺脫水機,6-1 脫水箱,6-2 脫水箱排水管 ;7 料斗,7-1 螺旋出料機,7-2 紫外線殺菌燈 ;8 除臭液儲料罐,8-1除臭液給料泵 ;9滅菌劑儲料罐,9-1滅菌劑給料泵 ;10沖洗罐,10-1沖洗泵,10-2化糞池疏通管 ;11噴淋水箱,11-1濾水格柵篩噴淋泵,11-2濾水格柵篩噴淋頭,11-3脫水機噴淋泵,11-4 脫水機噴淋頭
3、有益效果是,
a、處理方法具有工藝簡單,化糞池污物處理后無臭、無菌,含水率小于 80% 干化固體物質。該干化固體物質可作為土壤改良劑,添加營養成分、微量元素等即可作為有機肥料使用。
b、處理設備具有結構簡單,耗能低,處理過程無污染,處理時間短,處理得到的廢水可作為中水使用或對化糞池進行反沖洗

企業新聞

