粉煤灰陶粒設備簡介——成球機
粉煤灰陶粒是近幾年發展起來的一種具有環保、節能、利廢等特色的新型墻體建筑材料。成球機是其生產作業線中使散狀的粉煤灰形成球形顆粒的關鍵生產設備。目前大部分生產線利用類似于水泥生產用成核機裝置,設備結構復雜,價格高,成球顆粒大小均勻,不適宜進行粉煤灰陶粒生產。
本實用新型的目的是針對目前大部分粉煤灰陶粒生產線利用類似于水泥生產用成核機裝置,設備復雜,價格高,成球顆粒不適宜進行粉煤灰陶粒生產的問題,提供一種形成的球粒直徑大小不一、強度高、隔音、保溫好,設備結構簡單、操作方便、價格低、效率高的粉煤灰陶粒成球機。
一、粉煤灰陶粒成球機簡介
本實用新型所述的粉煤灰陶粒成球機包括轉盤、主軸、軸承座、支座、電動機、皮帶傳動機構、減速器、連軸器、底座、回轉角度調節機構、鎖緊機構、刮板及出料斗。
轉盤和主軸固連,并通過軸承座固定在支座上。支座通過回轉軸與底座連接。回轉角度調節機構一端與支座連接,另一端與底座連接。鎖緊機構安裝在底座上。
電動機固定在支座上。電動機通過皮帶傳動機構與減速器輸入軸相連。減速器輸出軸通過連軸器與主軸相連。刮板裝于轉盤中。出料斗裝于轉盤側下方。回轉角度調節機構可以是一個調節螺栓。
工作時,依靠動力傳動系統使主軸與轉盤回轉,轉盤與水平面形成4 5度左右交角,由于轉動,使轉盤內含有一定濕度的粉煤灰沿盤體外緣滾動,逐漸形成圓球狀,球粒達到要求后從轉盤中滾落到出料斗。
二、粉煤灰陶粒成球機優點:
1.形成的球粒直徑大小不一,適合于做各種輕質建筑砌塊,如陶粒磚、混凝土構件、各類框架建筑的圍護結構、承重與非承重砌塊的填料。填充率高,結合好。
2.顆粒內部組織均勻且疏松,燒結前不碎散,燒結后強度高,比重小,由于內部組織具有許多蜂窩狀空隙,不但強度高,而且隔音、保溫效果好。
3.顆粒外表不圓滑,燒結后表面形成麻點,易與水泥等凝結材料結合,結合緊密,強度高,適合做高強度的隔音、保溫材料的填料。
4.滾球轉盤可調節角度和轉速,能適應各種不同成分的粉煤灰成球工藝要求。
5.結構簡單,操作方便,價格低,效率高。能滿足5萬立方米/年、1 0萬立方米/年、 3 0萬立方米/年等不同規模粉煤灰陶粒生產線的配置需要。

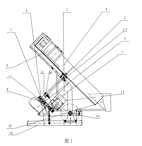
圖1是本實用新型粉煤灰陶粒成球機的構造圖;
三、具體實施方式
如圖1所示,本實用新型所述的粉煤灰陶粒成球機包括轉盤4、主軸3、軸承座17、支座5、電動機1 5、皮帶傳動機構1 1、減速器2、連軸器13、底座1 6、回轉角度調節螺栓7、鎖緊機構8及刮板9與出料斗1 0。轉盤4和主軸3固連,并通過軸承座17固定在支座5上;支座5通過回轉軸14與底座1 6連接。回轉角度調節螺栓7-端與支座5連接,另一端與底座1 6連接。鎖緊機構8安裝在底座1 6上。電動機1 5固定在支座5上。電動機1 5通過皮帶傳動機構II與減速器2的輸入軸相連。減速器2的輸出軸12通過連軸器13與主軸3相連。刮板9裝于轉盤4中。出料斗10裝于轉盤4側下方。
本備設備以電動機15或其它(液壓、液動)驅動裝置做動力,通過一級皮帶傳動機構1 1減速和二級減速器2減速,達到轉盤4需要的轉速。通過連軸器13使減速器2輸出軸12與主軸3連接,將動力傳送給轉盤3使其旋轉。
通過軸承座17使轉盤4和主軸3固定在支座5上,支座5與底座1 6通過回轉軸14連接,依靠調節螺栓7設置轉盤4的傾角,達到要求后用鎖緊機構14鎖緊,使支座5與底座16連接牢固,達到機構運轉平穩的目的。
刮板9使轉盤4在轉動過程中灰料不能粘結在轉盤4內壁,并促使形成球粒,成型后滾入出料斗,到達下一工序作業地。
主要技術參數:轉盤直徑3 2 0 0 mm; 轉盤深度4 5 0 mm;轉盤傾角4 3-5 50; 轉盤轉速1 0一l 9 r/min; 生產能力5-1 0m 3。

企業新聞

