自保溫砌塊成型機設備
隨著人們節能減排環保意識的增強,建筑行業對砌塊的保溫性能要求越來越高。以前為了滿足保溫性能的要求,人們通過在砌塊中填充保溫材料或采用夾芯砌塊,即在砌塊中間用保溫材料將砌塊隔開 ;上述砌塊中填充保溫材料雖能起到一定的保溫隔熱作用,但不能完全阻斷熱橋,保溫效果不理想,而夾芯砌塊雖能完全阻斷熱橋,但其砌塊與保溫材料粘合強度差,從而影響墻體的整體強度。
為此,本公司研發出利用兩種不同配比材料組成的雙材料自保溫砌塊,既能有效阻斷熱橋而達到隔熱保溫效果,又能確保砌塊強度的復合自保溫砌塊 ;而對于如何將兩種不同材料分別布入到砌塊模具中,利用現有傳統的砌塊成型機根本無法解決這一難題,本案由此而產生。
本發明的目的在于解決現有砌塊成型機技術的不足,提供一種自動將兩種不同配比材料分別布入到砌塊模具內的自保溫砌塊成型機。
一、本發明是通過以下技術方案實現的 :
自保溫砌塊成型機,主要是由送板機、推磚裝置、底料組織布料車及原面料組織布料車組成,其特征在于 :還包括有上下升降雙料隔離系統。
所述該上下升降雙料隔離系統主要是由鋼托板、托板支架、隔離器、推板、固定板、油缸及振動臺組成。
鋼托板通過組合膠墊與托板支架連接安裝,鋼托板與托板支架之間還設有托板導向裝置 ;振動臺安裝在振動臺支座上,該振動臺支座上裝有托板限位裝置 ;其中組合膠墊既可以隔振,又能使鋼托板將振動臺上的振動力良性傳遞至模具上,所述托板導向裝置是為了使鋼托板在振動時只能上下運動,而不能左右擺動。
所述隔離器呈 U 字形,數量為數個,具體視砌塊尺寸而定,隔離器裝在推板上,固定板通過連接板及墊板固定安裝在振動臺支座上,所述推板與固定板之間還裝有隔離器導向裝置和油缸 ;在油缸的驅動下,隔離器隨著推板沿隔離器導向裝置作上、下運動。
二、本發明的有益效果體現在于 :
與現有技術相比,本發明自保溫砌塊設備通過增設自動升降雙料隔離系統,使得砌塊成型機在布料時能自動將兩種材料隔離,并按要求進行分布和排列不同配比的材料,從而制作而成的砌塊既能有效阻斷熱橋而達到隔熱保溫效果,又能確保砌塊具有一定的強度。
三、附圖說明.



圖 1 為自保溫砌塊成型機結構示意圖。
圖 2 為自保溫砌塊成型機結構中的上下升降雙料隔離系統結構主視圖。
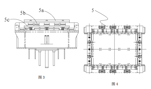
圖 3 為圖 2 的左視圖。
圖 4 為圖 2 的俯視圖。
圖 5 為上下升降雙料隔離系統工作時狀態示意圖。
下列為圖中各標識的具體名稱 :1送板機、2推磚裝置、3底料組織布料車、4原面料組織布料車、5 上下升降雙料隔離系統、6 壓頭、7 模框。
5a 鋼托板、5b 托板導向裝置、5c 托板支架、5d 隔離器、5e 固定板、5f 連接板、5g 推板、5h 隔離器導向裝置、5i 油缸、5j 墊板、5k 墊板、5m 振動臺支座、5n 組合膠墊、5p 托板限位裝置、5q 振動臺。
四、具體實施方式
如圖 1 所示,自保溫砌塊成型機,主要是由送板機 1、推磚裝置 2、底料組織布料車3 及原面料組織布料車 4 組成,還包括有上下升降雙料隔離系統 5。
如圖 2 至圖 4 所示,所述該上下升降雙料隔離系統 5 主要是由鋼托板 5a、托板支架5b、隔離器 5d、推板 5g、固定板 5e、油缸 5i 及振動臺 5q 組成。
如圖 2 至圖 4 所示鋼托板 5a 通過組合膠墊 5n 與托板支架 5c 連接安裝,鋼托板 5a與托板支架 5c 之間還設有托板導向裝置 5b ;振動臺 5q 安裝在振動臺支座 5m 上,該振動臺支座 5m 上裝有托板限位裝置 5p ;其中組合膠墊 5n 既可以隔振,又能使鋼托板 5a 將振動臺5q 上的振動力良性傳遞至模具上,所述托板導向裝置 5b 是為了使鋼托板 5a 在振動時只能上下運動,而不能左右擺動。
如圖 2 至圖 4 所示所述隔離器 5d 呈 U 字形,數量為數個,具體視砌塊尺寸而定,其作用在于當布第一種料時,料不會因為模框 7 的振動而散開,從而確保兩種不同配比的料按一定要求分布均勻 ;隔離器 5d 裝在推板 5g 上,固定板 5e 通過連接板 5f 及墊板(5j、5k)固定安裝在振動臺支座 5m 上,所述推板 5g 與固定板 5e 之間還裝有隔離器導向裝置 5h 和油缸 5i ;在油缸 5i 的驅動下,隔離器 5d 隨著推板 5g 沿隔離器導向裝置 5h 作上、下運動。
所述底料組織布料車 3 用于完成混凝土布料,原面料組織布料車 4 用于完成復合保溫材料的布料。
五、本發明砌塊成型機的工作原理 :
如圖 5 所示,本發明所有動作均由感應開關操作,并通過 PCC 程序控制自動完成 ;啟動設備,將模框 7 降至鋼托板 5a 處,并啟動上下升降雙料隔離系統 5,油缸 5i 推動推板 5g,將隔離器 5d 推入模框 7 內 ;底料組織布料車 3 前進,在模框 7 上往復運動,同時振動臺 5q 振動,完成混凝土布料,布完料后,底料組織布料車 3退回原位 ;同時原面料組織布料車 4 前進,在模框 7 上往復運動,振動臺 5q 振動,將保溫材料布入由隔離器 5d 隔開的空間內,布料完成后,原面料組織布料車 4 退回原位 ;接著啟動油缸 5i,隔離器 5d 退回原位,同時模具壓頭 6 下行運動,壓住混凝土和保溫材料,振動臺 5q振動,隨著振動臺 5q 的振動及模具壓頭 6 繼續下行運動,使混凝土和保溫材料壓塊成型一定尺寸和密度后,模具壓頭 6 上升,隨后模框 7 帶著砌塊上升,此時,送板機動作,將竹膠托板送至鋼托板 5a 上,模框 7 下降至竹膠托板后,模具壓頭 6 下降并壓住砌塊平面,模框 7 上行,待砌塊完全脫出模框 7 后,模具壓頭 6 上行至上始點位置,送板機的推磚裝置 2 運行,將竹膠托板和砌塊從鋼托板 5a 上推到接磚機上,完成一個工作循環。

企業新聞

