新型建筑陶粒生產線
陶粒,是利用各類粘土、板巖、頁巖、煤矸石及工業固體廢棄物等多種原料,經過陶瓷燒結而成,一般是用來取代混凝土中的碎石和卵石。陶粒具有密度低、保溫隔熱、抗滲性優異、抗堿集料反應性優異、吸水率低、抗凍性能和耐久性能好等眾多優點。陶粒是一種無極輕集料,主要用于建筑工程中保溫、隔熱、輕質墻體、輕集科混凝土、結構用混凝土等方面,也可用于環保過濾、農業種植等領域。
陶粒的一般生產工藝是首先將各種原料混和均勻配料,然后將混合均勻的配料送入盤式制球機內造粒,得到陶粒生料球,再將陶粒生料球預熱后燒結,得到的陶粒熟料球。
但是,現有的陶粒生產系統存在以下問題:
1、原料混配系統混料不夠均勻,影響最終陶粒產品的質量和均勻性,并且料斗下料量也不能靈活控制,導致后續造粒成型的濕混配比等不容易控制。
2、制造的陶粒生料球大小不均勻,表面粗糙不平,還粘有少量粉塵,直接進入燒結窯,出來的陶粒光潔度不高,影響終產品成品率和質量。
3、陶粒燒結裝置能源效率不高,并且燒結過程中陶粒容易開裂,次品率高。
本實用新型的目的在于:針對現有技術存在的問題,提供一種建筑陶粒生產線,陶粒產品成品率高,質量優異。
一、技術方案為:
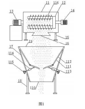
一種建筑陶粒生產線,包括原料混配系統、成型制粒系統和燒結系統;所述原料混配系統包括原料混料機和原料斗;所述原料混料機包括混料罐、攪拌器、旋轉電機Ⅰ、旋轉電機Ⅱ和機架,所述旋轉電機Ⅰ的轉動軸與混料罐的端面連接且用于帶動混料罐繞水平軸心旋轉,所述混料罐設置于機架上且與機架轉動配合,所述混料罐上設有可開閉的料口,所述攪拌器設置在混料罐內,所述旋轉電機Ⅱ的轉動軸與攪拌器連接且用于帶動攪拌器在混料罐內旋轉;所述原料斗包括料斗本體和用于支撐料斗本體的支撐架,所述料斗本體的進料口設置在料斗本體頂部,所述混料罐的料口正對料斗本體的進料口,所述料斗本體的出料口設置在料斗本體底部,所述料斗本體的料腔內設有隔層擋板將料腔分為上下兩個腔體,所述隔層擋板包括固定在料腔上部的固定擋板和與固定擋板下端鉸接的活動檔板,所述活動檔板上鉸接有推拉桿,所述推拉桿的一端穿出料斗本體的側壁并安裝有手柄或旋鈕;所述成型制粒系統包括造粒成型裝置、篩選裝置和輸送打磨裝置;所述造粒成型裝置包括造粒箱、擠壓成型輥和接料盤,所述造粒箱一端頂部設有粉料進料口,另一端底部設有粒料出料口,所述造粒箱內設有設有螺旋推料桿,所述造粒箱上方設有水箱,所述水箱連接有伸入造粒箱內且正對螺旋推料桿的噴頭,所述造粒箱的粒料出料口設置在擠壓成型輥上方,所述接料盤設置在擠壓成型輥下方;所述篩選裝置包括轉動的滾筒篩,所述滾筒篩的側壁設有篩網,所述滾筒篩與接料盤連接;所述輸送打磨裝置包括提升輸送帶和打磨輸送帶,所述提升輸送帶傾斜向上設置,所述提升輸送帶底部與滾筒篩連接,所述打磨輸送帶與提升輸送帶頂部連接;所述燒結系統包括燒結窯,所述燒結窯包括轉動的燒結窯體,所述燒結窯體一端設有生料球入口,另一端設有熟料球出口,所述燒結窯體的熟料球出口端連接有燃燒室和燃煤噴吹風機。
所述攪拌器包括兩根平行設置的螺旋桿,兩根螺旋桿上的螺旋葉片旋轉方向相反。所述隔層擋板在料腔內左右對稱設置,左右兩個隔層擋板的活動檔板之間形成下料通道。所述推拉桿的中部設置為套管連接結構,所述推拉桿與料斗本體的側壁螺紋連接。所述擠壓成型輥包括兩個平行設置且轉向相反的擠壓輥。所述打磨輸送帶的帶體表面設置有打磨砂粒。所述打磨輸送帶包括三條平行設置的輸送帶,第一輸送帶位于第二輸送帶上方且第一輸送帶的卸料端正對第二輸送帶的上料端,第二輸送帶位于第三輸送帶上方且第二輸送帶的卸料端正對第三輸送帶的上料端。所述燒結窯體的生料球入口端連接有煙囪。所述燒結窯體的生料球入口端朝熟料球出口端向下傾斜1~5度設置。
二、本實用新型的有益效果在于:
1、本實用新型設置了混料罐可旋轉的原料混料機,并且混料罐內還設有可旋轉的攪拌器,在混料罐旋轉和攪拌器旋轉的雙重作用下,大大提高了原料混配的均勻性,提高了最終陶粒產品的質量和均勻性。
2、本實用新型在原料斗內設置隔層擋板,通過控制隔層擋板下端的活動檔板的開合,可以靈活配合后續工序控制不同的物料下料量及下料速度。
3、本實用新型設置了造粒箱噴水濕料混合,擠壓成型輥擠壓成球狀顆粒,再利用滾筒篩從擠壓成型的球狀顆粒中篩選出比較均勻的球狀顆粒,最后通過輸送打磨,去除表面的粉塵,并將球面打磨光潔,最終得到大小均勻、表面光潔、圓度高的高質量陶粒生料球,提高了終產品成品率和質量。
4、本實用新型在燃燒室內點燃粉煤,燃燒的粉煤在燃煤噴吹風機的作用下由燒結窯體的熟料球出口端向生料球入口端蔓延,燒結窯體的溫度由熟料球出口端至生料球入口端逐漸降低,此時陶粒從生料球逐步經歷干燥、燃燒、膨化到成品熟料球,在燒結過程中陶粒不容易開裂,次品率低,并且能源效率高。
附圖說明



圖1為建筑陶粒生產線中原料混配系統的結構示意圖;
圖2為建筑陶粒生產線中成型制粒系統的結構示意圖;
圖3為建筑陶粒生產線中燒結系統的結構示意圖。
圖中標記:11-混料罐;12-攪拌器;13-旋轉電機Ⅰ;14-旋轉電機Ⅱ;15-機架;16-料口;17-料斗本體;18-支撐架;19-進料口;110-出料口;111-隔層擋板;112-固定擋板;113-活動擋板;114-推拉桿;115-旋鈕;116-螺旋桿;21-造粒箱;22-擠壓成型輥;23-接料盤;24-粉料進料口;25-粒料出料口;26-螺旋推料桿;27-水箱;28-噴頭;29-滾筒篩;210-篩網;211-提升輸送帶;212-打磨輸送帶;213-第一輸送帶;214-第二輸送帶;215-第三輸送帶;31-燒結窯體;32-生料球入口;33-熟料球出口;34-燃燒室;35-燃煤噴吹風機;311-煙囪。

    
    
企業新聞
                    
    
    