自保溫砌塊設備:優化建筑墻體新材料問題
目前建筑墻體的主要材料是采用免燒磚或加氣塊作為骨架,然后外貼保溫板或者粉刷保溫漿料粘接而成,這種施工工藝工藝復雜、成本高和施工人員施工危險系數大,同時由于保溫板易燃燒,導致安全性降低。自保溫砌塊設備用以解決現有技術提供的自保溫砌塊結構、易分離,從而導致產品質量差和保溫功效低以及勞動強度大、生產效率低的問題。

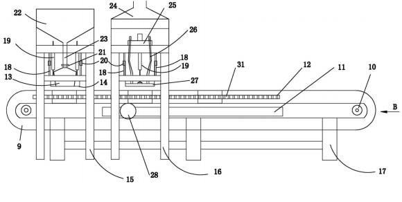
鄭州德森環境生產的自保溫砌塊設備設有自動配料裝置和液壓砌塊系統,從而從輸送板鏈運送來的混凝土砌塊經推進器推入自動配料裝置的填充位置往混凝土砌塊上的填充孔進行填充粉煤灰陶粒,填充完畢后,經輸送鏈板輸送至液壓砌塊系統下方時,此時,動力裝置驅動蒸汽倉向下移動直至與混凝土砌塊接觸,蒸汽源向蒸汽倉供汽,通過蒸汽倉上的出氣孔排出蒸汽并使粉煤灰陶粒膨脹凝結形成保溫塊,形成一有機整體,在蒸汽排放的過程中,通過蒸汽回收裝置進行回收蒸汽;在填充和蒸壓成型的過程中,通過輸送板鏈的兩側均設有用于夾持混凝土砌塊的護板進行夾持,從而保證了混凝土砌塊兩端面開設的開口填充孔填充上粉煤灰陶粒后不泄露。
采用該自保溫砌塊設備實現了在線成型和批量流水化作業,使保溫塊與混凝土砌塊成為有機一體的自保溫砌塊,提高了產品質量和保溫效果,克服了傳統工藝生產的自保溫砌塊上保溫塊易分離的弊端,同時提高了生產效率,有效減少了勞動力及生產成本。

企業新聞

