危廢污泥處理_污泥處理資源化_污泥的無害化處理
一種將危廢污泥無害化處理和資源化利用,達到零排放的工藝技術和危廢污泥與固廢粉協同無害化處理并生產出陶粒環保產品的資源再利用的循環經濟的技術工藝與方法。
1、本發明的技術方案如下:
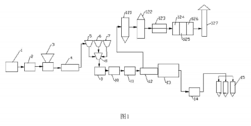
一種危廢污泥資源化利用的處理系統,該系統包括污泥生物處理池l、脫水壓濾機2、粉碎機3、高頻微波變頻除臭、殺菌、脫水一體化處理設備4、污泥計量倉5、固廢粉計量料倉6、添加劑計量料倉7、混料計量料倉8、碾壓攪拌設備9、造粒機10、分篩機11、干餾炭化回轉窯12、布袋除塵設備121、脫硫洗滌塔122、脫硝設備123、活性炭除臭設備124、等離子除臭設備125、光觸酶除臭設備126、達標尾氣排放煙窗127、琉璃上釉回轉窯13、陶粒泠卻分揀機14、計量陶粒儲倉15;所述的污泥生物處理池l通過水管道與脫水壓濾機2連接;脫水壓濾機2、粉碎機3、高頻微波變頻除臭、殺菌、脫水一體化處理設備4、污泥計量倉5、混料計量料倉8、碾壓攪拌設備9、造粒機10、分篩機11、干餾炭化回轉窯12通過皮帶運輸機依次連接;琉璃上釉回轉窯13的前端套在干餾炭化回轉窯12的后端;固廢粉計量料倉6、添加劑計量料倉7分別通過皮帶運輸機與混料計量料倉8連接;布袋除塵設備121通過風管道與干餾炭化回轉
窯12的窯頭連接;布袋除塵設備121、脫硫洗滌塔122、脫硝設備123、活性炭除臭設備124通過風管道依次連接;活性炭除臭設備124、等離子除臭設備125、光觸酶除臭設備126通過氣體連通管依次連接;光觸酶除臭設備126通過風管道與達標尾氣排放煙窗127連接;琉璃上釉回轉窯13、陶粒冷卻分揀機14、計量陶粒儲倉15通過皮帶運輸機依次連接。
其中,所述的干餾炭化回轉窯12直徑為700-3400mm,長度為33000-36000mm,窯內襯采用納米耐火材料;琉璃上釉回轉窯13直徑為900-3600mm,長度為33000-3600mm,窯內襯采用納米耐火材料。
一、采用所述危廢污泥資源化利用的處理系統進行危廢污泥處理的方法,包括以下步驟:
(1)采用微生物技術對危廢污泥HW12或HW17進行除臭、殺毒、滅菌處理,控制廢污泥的溫度控制在65-95℃范圍內,處理時間為5-10秒;所述的HW12是指染料或涂料的廢物,即鉻黃顏料、鉻橙顏料、鉻綠顏料、鐵藍顏料的其中一種或幾種廢水處埋后產生的污泥;HW17是指使用氯化鋅、氯化銨等進行敏化處理和鍍金、鍍銅、鍍鋅、鍍鉻其中一種或幾種等廢水處理產生的污泥;
將危廢污泥的溫度控制在65-95℃,處理時間5-10秒,可促使有機物的細胞壁迅速破裂,使進入微生物細胞中的有機物在細胞內酶的催化作用下,微生物對其進行氧化分解,最終轉化成H20、C02等穩定的無機物。
(2)將步驟(1)處理后的危廢污泥加入污泥脫水劑,用高壓污泥泵輸送到脫水壓濾機2,使污泥含水率降至30-60%,脫水后得到污泥餅:
(3)用皮帶運輸機將步驟(2)所得壓濾后的污泥餅輸送到粉碎機3進行粉碎;
(4)將步驟(3)粉碎后的污泥通過皮帶輸送機送到高頻微波變頻除臭、殺菌、脫水一體化處理設備4,進行殺毒、滅菌,達到《農用污泥中污染物控制標準》(GB4284)等國家和地方現行的有關農用標準和規定;
本發明處理后的污泥必須達到穩定化和無害化標準,重金屬在后序燒結陶粒的過程中將被固化在陶粒中,安全穩定,永不析出,無二次污染。并達到《農用污泥中污染物控制標準》(GB4284)等國家和地方現行的有關農用標準和規定。
(5)將步驟(4)所得污泥用皮帶運輸機輸送到污泥計量倉5,再將污泥、固廢粉、添加劑分別從污泥計量倉5、固廢粉計量料倉6、添加劑計量料倉7中通過皮帶運輸機送到混料計量料倉8混合,通過皮帶運輸機將混合后的合格物料輸送到碾壓攪拌設備9進行充分碾壓后攪拌均勻,再通過皮帶運輸機運到造粒機10中進行造粒,再通過皮帶運輸機送到分篩機進行分篩;
(6)將步驟(5)所得合格的陶粒生料球通過皮帶運輸機運到干餾炭化回轉窯12進行干餾炭化,并將經干餾和炭化后的生料球進入琉璃上釉回轉窯13進行琉璃上釉燒結后成為陶粒,再通過皮帶運輸機送至陶粒冷卻分揀機14進行分揀,不合格的陶粒用皮帶運輸機返回原材料存儲間,將合格的陶粒通過皮帶運輸機輸送到計量陶粒儲料倉15中儲存,不合格的陶粒生料球通過皮帶運輸機返回造粒機10重新造粒,其中,所述的合格的陶粒生料球是指將其從2米高處自由落體到地面,生料球不變形,無損壞為合格。
二、本發明的有效益處為:
(1)納米耐火材料具有純度高、熔點高、高溫結構強度大、化學穩定性和熱穩定性好等特性,窯內襯使用納米耐火材料減少了熱能損失、提高了熱能利用率并降低生產成本,與此同時本發明全套設備系統采用PLC全自動控制,具有效率高,節能的優點。
(2)本發明節省了用填埋方法處理危廢污泥所浪費國家大量地土資源的問題和用固化法所需要的水泥、瀝青、添加劑等資源的問題,徹底解決了危廢污泥零排放和二次污染的難題,而且使危廢污泥變廢為寶.實現了無害化資源再利用的戰略目標。
(3)本發明實現了危廢污泥與固廢協同處理資源化利用的目的,將對改善和保護我國的大生態環境與大環保產業的發展做出巨大貢獻。
三、附圖說明

圖1為本發明一種危廢污泥資源化利用的處理系統示意圖;
圖l中,卜污泥生物處理池;2一脫水壓濾機;3一粉碎機;4-高頻微波變頻除臭、殺菌、脫水一體化處理設備;5-污泥計量倉;6-固廢粉計量料倉;7-添加劑計量料倉;8-混料計量料倉;9-碾壓攪拌設備;10-造粒機;11一分篩機;12-+餾炭化回轉窯;121-布袋除塵設備;122一脫硫洗滌塔;123-脫硝設備;124-活性炭除臭設備;125-等離子除臭設備;126-光解酶除臭設備;127-達標尾氣排放煙窗;13-琉璃上釉回轉窯;14-陶粒冷卻分揀機;15-計量陶粒儲倉。

企業新聞

