陶粒混料裝置結構原理
在陶瓷生產技術領域中,根據產品需求,通常需要將多種不同粒度的物料均勻混合在一起。目前,國內外廣泛使用的混料方式主要有:人工摻合,即將不同物料集合一起后依賴鐵鍬等工具不斷翻動,使物料達到混合的目的,該方式勞動強度高,效率低且難以實現不同物料的均勻混合。
為了解決現有技術中存在的問題,本發明的目的是提供一種陶粒設備-陶粒混料裝置。
一、技術方案:
一種陶粒混料裝置,包括U形管、混料管、調節閥A和調節閥B,在U形管拐彎處的下側面上連接有混料管,混料管為上下端敞口的中空結構,混料管的上端口連接于U形管上,并且混料管的內腔與U形管得內腔連通。
進一步的,在U形管兩側的管體上分別設置有用于控制下料量的調節閥A。在混料管上設置有調節閥B。在U形管拐彎處的下側面上設置有上法蘭,在混料管的上端口上設置有下法蘭,上、下法蘭通過螺栓緊固連結。在U形管和混料管的內壁上均設置有陶瓷耐磨層。
二、優點:
1、本發明設計簡單,通過U形管的兩個管口向U形管內同時加入兩種物料,并在混料管內混合,可以靈活控制不同粒度物料的下料量及下料速度,可實現不同程度的混合;
2、通過在U形管和混料管的內壁上設置陶瓷耐磨層,使得U形管和混料管具有耐磨性好、耐腐蝕性好等優越性能,大大提高了U形管和混料管的使用壽命,降低維修、更換成本。
三附圖說明

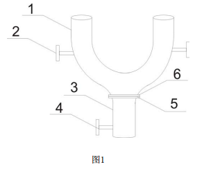
圖1為本發明的結構示意圖;
圖中:1、U形管;2、調節閥A;3、混料管;4、調節閥B;5、下法蘭;6、上法蘭。
具體實施方式
如圖l所示,一種陶粒混料裝置,包括U形管1、混料管3、調節閥A2和調節閥B4,在U形管1拐彎處的下側面上連接有混料管3,混料管3為上下端敞口的中空結構,混料管3的上端口連接于U形管1上,并且混料管3的內腔與U形管l的內腔連通。
在U形管1兩側的管體上分別設置有用于控制下料量的調節閥A2,在混料管上設置一種陶粒混料裝置有調節閥B4。
在U形管拐彎處的下側面上設置有上法蘭6,在混料管的上端口上設置有下法蘭5,上、下法蘭通過螺栓緊固連結。
在U形管1和混料管3的內壁上均設置有陶瓷耐磨層。
本發明設計簡單,通過U形管的兩個管口向U形管內同時加入兩種物料,并在混料管內混合,可以靈活控制不同粒度物料的下料量及下料速度,可實現不同程度的混合。
本發明通過在U形管和混料管的內壁上設置陶瓷耐磨層,使得U形管和混料管具有耐磨性好、耐腐蝕性好等優越性能,大大提高了U形管和混料管的使用壽命,降低維修、更換成本。

企業新聞

