一種城市海綿城市透水磚及其施工工藝
現有技術中的海綿城市透水磚的排水效果和路面鋪設效果并不理想,海綿城市透水磚的形狀結構多為長方體規整結構,結構單一,透水系數也不理想,在降水量比較多的城市或者遇連續下雨或暴雨的天氣時,雨水無法快速滲透,路面上的積水不能及時排走,給行人帶來不便或者引發城市內澇等災害。此外,現有的海綿城市透水磚施工完成后,容易發生松動和位移,影響路面的整齊度和結實度,使用一定時間后,容易出現堵塞不滲水或斷裂等缺陷。
鑒于此,特提出本發明。
本發明的第一目的在于提供一種強度高、具有良好的透水性和透氣性的城市海綿城市透水磚。
本發明的第二目的在于提供一種具有良好的透水性和透氣性,可使雨水迅速深入地下,并且養護方便的城市海綿城市透水磚的施工工藝。
一、為實現上述目的,本發明采用的技術方案為:
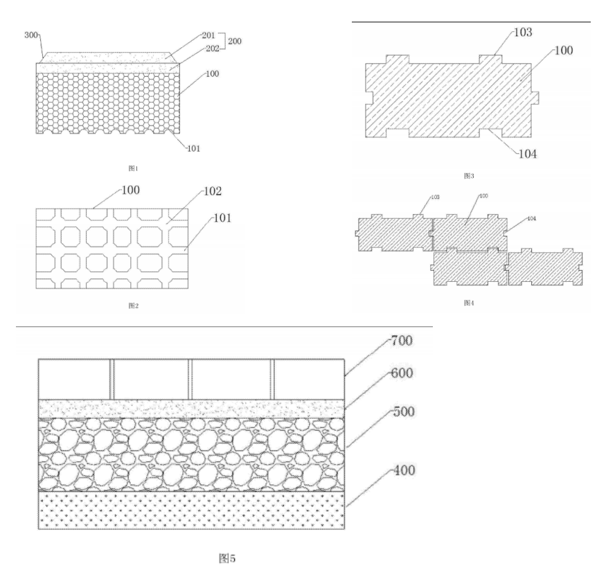
根據本發明的一個方面,本發明提供一種城市海綿城市透水磚,包括底層和一體成型于底層上表面的面料層:
所述底層的下表面交錯的設置有多條流水通道,且交錯的節點處設置有蓄水槽;所述底層的相對的側面上分別設有相匹配的凸起與凹槽,且所述凹槽在所述凸起所在的側面上的投影與所述凸起所在位置重合;
所述面料層包括上層和下層,所述上層的四周邊緣設置有傾斜向下的導流斜邊。
作為進一步優選技術方案,所述蓄水槽為圓形、橢圓形、矩形或菱形。在所述底層側面的長度方向和/或寬度方向上設置有所述凸起與凹槽,且所述凸起與凹槽的形狀相同,數量一致.所述下層與所述底層的長度和寬度均相同,所述下層的上表面與所述導流斜邊的底部之間形成一環形的水流通道。所述底層和面料層均由水泥混凝土制備而成,且面料層中包含顏料,面料層的孔隙小于底層的孔隙。所述底層的平均孔隙直徑為面料層的平均孔隙直徑的2-6倍。所述底層與面料層的厚度比為4-9:1:所述下層與上層的厚度比為1- 2:1。所述凸起為弧形、方形或三角形。所述凸起為一個或多個,所述導流斜邊的傾斜角度為45。。
作為進一步優選技術方案,按重量份數計,所述底層的水泥混凝土包括80 -120份的水泥、550-750份的骨料和1-10份的抗裂纖維,所述面料層的水泥混凝土包括10 -20份的水泥,70 -110份的骨料,1-8份的白水泥和1-4份的顏料。所述顏料為氧化鐵系列或群青系列。所述顏料為氧化鐵紅、氧化鐵黃、氧化鐵橙、氧化鐵棕、氧化鐵黑、群青或群青藍中的一種,所述抗裂纖維由廢紙打漿而成,或者由廢紙漿和廢塑料纖維的混合物打漿而成。所述骨料為細砂、碎石、石粉、煤灰粉、鋼渣或建渣。
根據本發明的另一個方面,本發明還提供一種城市海綿城市透水磚的施工工藝,包括如下步驟:
墊層的鋪設,在地基夯實后,將砂子鋪設在地基上,形成墊層;
基層的鋪設,墊層鋪設完成后,在墊層上鋪設一層塊狀碎石;
找平層的鋪設,塊狀碎石鋪設完成后,在塊磚碎石上鋪設一層砂子,并整理平整;
面層的鋪設,找平層鋪設完成之后,從路面的一側或一端開始在找平層上鋪設城市海綿城市透水磚,將帶有凸起的側邊放置在前面,帶有凹槽的側邊位于后面,然后將另一塊城市海綿城市透水磚帶有凹槽的一側與前一塊城市海綿城市透水磚前面的凸起相對接,如此延續鋪設直至完成整個路面的面層的鋪設。
作為進一步優選技術方案,面層的鋪設過程中,相鄰的城市海綿城市透水磚之間有一定寬度的縫隙,并通過凹凸結構連接成整體,該縫隙能夠使雨水流過并滲入至地基。
作為進一步優選技術方案,墊層的鋪設中,所述砂子為中砂,所述中砂的粒徑為5-20mm,墊層的厚度為50mm-80mm;
基層的鋪設中.所述塊磚碎石為陶粒、砂石、礫石、鵝卵石、河卵石或建筑廢料,所述塊狀碎石的粒徑為5 -60mm,基層的厚度為150 - 250mm,壓實系數為93%以上;
找平層的鋪設中,所述砂子為細砂,所述細砂的粒徑為0.3- 5mm,找平層的厚度為20-40mm。
作為進一步優選技術方案,在墊層的鋪設前,還包括施工準備的步驟,根據設計圖紙的要求,進行清理土方、雜物和路床開挖,并達到設計標高,標定高程,檢查縱坡、橫坡及邊線,是否符合設計要求。
作為進一步優選技術方案,施工準備完成后,進行地基的夯實,修整路基,采用人工或機械按標高填挖土方,且填土方應符合路基土填土基本要求,場地經找平根據土質預留虛高后用平碾或夯實至密實度要求。
進一步地,地基的夯實過程中,壓實系數為95%以上;如有地下管線設施同時施工,做好溝槽換填處理,當管線埋設覆土深度小于50cm厚時,為保障地下設施不受損壞可采用反開槽施工,先修筑基層后開工。
作為進一步優選技術方案,面層鋪設完成后,還包括清理現場和養護的步驟,所述養護時間不少于7天。
二、與現有技術相比,本發明的有益效果在于:
l、本發明提供的城市海綿城市透水磚,通過在底層的下表面設置流水通道和蓄水槽,在面料層的上層設置傾斜向下的導流斜邊,不僅具有良好的透水性能,增加了滲水系數,而且外形美觀,具有蓄水作用,具有高透水率、高蓄水率和高抗壓強度的優點;即在確保磚體的力學性能、透水性和蓄水性的同時,還有利于磚體表面的孑L隙進行后期清洗與修復,從而使得城市海綿城市透水磚長久保持良好的透水性和透氣性。同時在底層的側面設置有凸起和凹槽,利于滲水的同時,方便磚體之間的連接,加固穩定。
2、本發明提供的城市海綿城市透水磚的施工工藝,在城市海綿城市透水磚底層的側面上設有相匝配的凸起與凹槽,相鄰的城市海綿城市透水磚通過凸起與凹槽進行嵌合,增加了各城市海綿城市透水磚之間的契合度,連接可靠,進而避免城市海綿城市透水磚發生松動和位移,保證路面的整齊度和美觀度;同時施工簡便,效率高,鋪設效果好。
3、本發明的城市海綿城市透水磚透水性和透氣性好,強度高,連接可靠,能明顯減輕地面徑流,有效排除路面積水,方便交通出行,并可預防城市內澇,改善小區環境,吸聲降噪,美化環境,同時施工簡便,成本低,養護方便。
三、附圖說明

圖l為本發明實施例提供的城市海綿城市透水磚主視結構示意圖;
圖2為本發明實施例提供的城市海綿城市透水磚的底層下表面結構示意圖;
圖3為本發明實施例提供的城市海綿城市透水磚的剖面結構示意圖;
圖4為本發明實施例提供的相鄰的城市海綿城市透水磚連接后的結構示意圖;
圖5為本發明實施例提供的城市海綿城市透水磚的施工剖面結構示意圖。
圖標:100 -底層;101-流水通道;102-蓄水槽;103-凸起;104-凹槽;200-面料層;201-上層;202-下層;300-導流斜邊;400-墊層;500-基層;600-找平層;700-面層。

企業新聞

