工業污泥陶粒設備——余熱回收裝置
目前,陶粒制備過程中產生大量的熱量,這些熱量直接擴散到大氣當中,會造成了熱能的浪費。由于利用工業污泥制備陶粒過程中,產生的余熱溫度在160-200℃之間,滿足烘干工業污泥的要求,能降低工業污泥的含水率。余熱回收利用能有效提高工作效率降低,提高能源利用率
陶粒余熱回收利用的方式主要分為直接加熱與間接加熱兩種。其中,直接加熱法熱交換效率高,但是制備陶粒的原材料選用工業污泥,該原料成分復雜,污泥中惡臭成分和灰塵會隨著加熱揮發出來,增加后續煙氣處理的負荷,所以直接加熱法投資過大,對設備腐蝕嚴重,壽命較短。而間接加熱法是陶粒煙氣與工業污泥不直接接觸,通過熱輻射、傳導等熱交換方式來加熱生產物料,減少了對設備的腐蝕,降低成本,延長生產壽命。
為了克服現有技術的缺點于不足,污泥陶粒設備廠家鄭州德森提供一種工業污泥制備陶粒用的余熱回收裝置,其能將生產過程中產生的余熱進行回收利用,提高能源利用率,節約能約。
1、工業污泥制備陶粒用的余熱回收裝置技術方案:
一種工業污泥制備陶粒用的余熱回收裝置,包括裝置主體、煙氣入口管道、導流墻和煙氣出口管道,所述煙氣入口管道和煙氣出口管道分別設于裝置主體的兩端;所述導流墻設于裝置主體內部,且采用迷宮式設置。將導流墻采用迷宮式設置,可以增加煙氣在裝置主體內停留的時間,提高能源利用率。
進一步地,所述導流墻在裝置主體內部形成一蛇形通道。通過將導流墻交錯設置形成蛇形通道,能延長煙氣在裝置主體內的停留時間,保證烘干效果,提高能源利用率。
進一步地,所述煙氣入口管道與所述煙氣出口管道相互垂直,且所述煙氣入口管道與導流墻平行。該設置可以保證煙氣按照導流墻形成的蛇形通道流動,從而增加煙氣在裝置主體內停留的時間,提高能源利用率。
進一步地,所述煙氣入口管道采用保溫鋼管鋪設,所述保溫鋼管通過耐高溫玻璃棉以及外層薄鋼板防護。該設置可減少煙氣中的熱量在進入裝置主體過程中的損失,從而提高能源利用率。
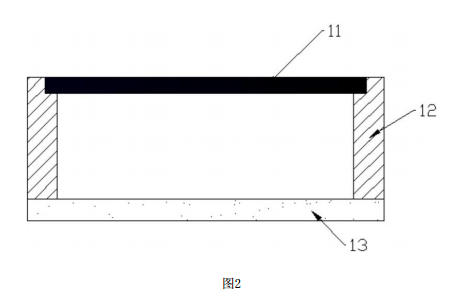
進一步地,所述裝置主體上蓋鋪設有厚鋼板。優選地,該厚鋼板厚10mm;將生產原材料(如污泥)平鋪在厚鋼板上對原材料進行間接加熱,達到烘干物料的目的。優選地,裝置主體每隔一定間距設置鋼筋砼預制梁,以加強鋼板的承托荷載。
優選地,所述裝置主體的墻體采用240mm的厚磚墻砌筑而成。
優選地,所述裝置主體的基礎采用200mm的耐熱混凝土砌筑而成。
2、工業污泥制備陶粒用的余熱回收裝置優點
相比于現有技術,本實用新型的工業污泥制備陶粒用的余熱回收裝置,能夠有效地將工業污泥制備陶粒過程中產生的余熱進行回收利用,用以烘干工業污泥等原材料,減少生產過程中能源的消耗,且裝置的結構簡單、易于清理,能有效提高生產效率和能源利用率。
為了更好地理解和實施,下面結合附圖詳細說明本實用新型。
3、附圖說明


圖1為本實用新型的工業污泥制備陶粒用的余熱回收裝置的結構示意圖
圖2為本實用工業污泥制備陶粒用的余熱回收裝置的裝置主體的結構示意圖

企業新聞

