粉煤灰陶粒設備中用滾筒篩分機筒刷裝置
用于生活垃圾綜合篩分資源化利用的滾筒篩分機在工作時,由于處理對象成分復雜,含水率變化較大,在工作時很容易出現篩分物淤積滾筒篩面,造成篩孔堵塞,特別是篩分無機物渣土的細篩孔篩分段,一旦堵塞,篩分機只能停機清篩,耗時費力,勞動強度大,大大降低了篩分機的生產效率,影響整條生產線的正常運轉。
為了解決的是現今各生活垃圾資源化處理廠在用垃圾滾筒篩分機篩孔容易堵塞、清理費時費力、勞動強度大、影響篩分機工作效率的問題,粉煤灰陶粒設備廠家提供了一種用于滾筒篩分機上對滾筒進行清理,避免篩孔堵塞的裝置,且該裝置不需要增加額外動力。
一、粉煤灰陶粒設備中用滾筒篩分機筒刷裝置原理
本實用新型的粉煤灰陶粒設備中用滾筒篩分機筒刷裝置,安裝在滾筒篩分機的防護罩上,其特征在于該裝置包括手輪、滑動軸套、梯形絲桿軸、搖臂架和刷輥,滑動軸套安裝在防護罩上,梯形絲桿軸安裝在滑動軸套內,搖臂架安裝在梯形絲桿軸上且沿梯形絲桿軸滑動 ;手輪安裝在梯形絲桿軸的一端 ;刷輥包括刷毛和刷輥軸,刷輥安裝在防護罩與滾筒之間,刷毛設置在刷輥軸上。
所述的搖臂架上設置有絲桿螺母和轉軸,絲桿螺母安裝在梯形絲桿軸上沿梯形絲桿軸移動,轉軸固定在防護罩上,搖臂架繞絲桿螺母及轉軸轉動。
所述的搖臂架上還設置有防纏繞撥桿,防纏繞撥桿固定在防護罩上,防纏繞撥桿上設置有防纏繞撥片,防纏繞撥片深入刷毛之間。
所述的防護罩上設有開孔,開孔為圓環形,刷輥軸兩端穿過并固定在搖臂架上,孔內還設置有防塵橡膠片。
無需增加額外動力,利用滾筒篩分機滾筒的自轉,帶動刷輥做旋轉運動,以達到清篩防堵的目的 ;同時利用滾筒篩分機防護罩與滾筒之間的間隙,通過手輪調整搖臂架帶動刷輥,實現刷毛與滾筒間的接觸壓力和距離的可調,在防護罩上設置的防纏繞撥桿伸入刷輥刷毛內,實現筒刷裝置的自我清理。
二、粉煤灰陶粒設備中用滾筒篩分機筒刷裝置有益效果 :
1、不增加額外動力,節能降耗 ;
2、清篩、防堵效果好,通孔率高 ;
3、降低勞動強度,提高了滾筒篩分機的工作效率 ;
4、結構簡單,制造成本低,操作靈巧方便 ;
5、實現了刷輥壓力、時間的可控,更好地達到清篩防堵目的,刷輥的使用壽命也大大延長 ;
6、刷輥在防纏繞撥桿的作用下,實現自我清理,不會因刷輥被纏繞而失效,可靠性高。
三、粉煤灰陶粒設備中用滾筒篩分機筒刷裝置附圖說明


圖 1 為粉煤灰陶粒設備中用滾筒篩分機筒刷裝置結構示意圖。
圖 2 為粉煤灰陶粒設備中用滾筒篩分機筒刷裝置安裝結構示意圖。
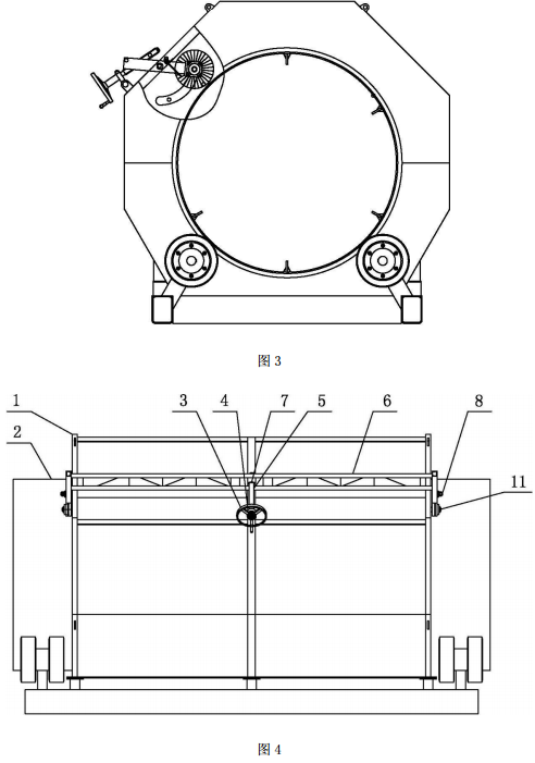
圖 3 為刷輥離開滾筒結構示意圖。
圖 4 為安裝結構俯視圖。
其中,防護罩 1,滾筒 2,手輪 3,滑動軸套 4,梯形絲桿軸 5,搖臂架 6,絲桿螺母 7,轉軸 8,刷輥 9,刷毛 10,刷輥軸 11,防纏繞撥桿 12,開孔 13,防塵橡膠片 14。

企業新聞

