粉煤灰陶粒設備生料分步造粒是怎么回事?
目前粉煤灰陶粒設備生料造粒方法一般是造粒混合料倉內的混合料通過輸送裝置送 至造粒圓盤上,混合料在旋轉的圓盤上運轉后成核并最后成粒,即混合料在旋轉的圓盤上 造核至造粒的過程全部在圓盤內完成。但這種造核至造粒的過程全部在圓盤內完成方法 存在嚴重的不足,即進入旋轉圓盤上的混合料中的松散顆粒作無規則滾動而造出的球核和 粒大小不一致,形狀也不規則,顆粒結合不緊密而導致生球強度差,成型后易碎 ;同時混合 料在旋轉的圓盤上造核至造粒的過程全部在圓盤內完成需要較長的時間,使得造粒效率低 下。

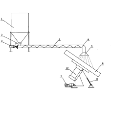
粉煤灰陶粒設備生料分步造粒裝置,涉及一種粉煤灰陶粒生料造粒裝置領域。本發明解決了目前粉煤灰陶粒設備生料造粒大小不一、形狀不規則及強度差等問題。該粉煤灰陶粒生料分步造粒裝置的輸料管內設置有內螺紋,輸料管內的內螺紋螺距長度為輸料管直徑的二分之一至四分之一,所述內螺紋牙頂與內螺紋牙底之間的高度小于內螺紋的螺距;所述擠壓噴頭上設置有若干個錐形擠壓孔,錐形擠壓孔的外側口的直徑小于內側口直徑。該粉煤灰陶粒生料分步造粒裝置結構簡單、安裝方便且能極大地提高造粒效率。

企業新聞

