市政污泥免燒陶粒成型裝置
市政污泥作為污水處理過程中產生的廢棄物,其數量約占處理水量的0 .3%—0 .50%。大量未經處理的污泥如果處置不當,將對環境造成更為嚴重的二次污染。對污泥的傳統的處置方式主要有填埋或焚燒等,但填埋容易使污泥中的重金屬等有害物質滲入地下水;而焚燒會使污泥中的有機物轉化為有害氣體,產生新的環境問題。而隨著污泥產量快速增長以及國家對污泥的處置要求越來越高,原有的污泥處理和處置能力已經不能滿足新標準的要求,亟需一種新的有效處理方式。
將污泥用作建材原材料,既可以解決污泥的處置問題,又可以解決建材磚土原料的來源問題。國內部分地區也將頁巖和市政污泥為主要原料燒結制磚,產品具有重量輕、節能、保溫等優點,并且光潔度、磚體強度均高于一般黏土磚。但以上的污泥建材化方法弊端也很明顯,即均存在煅燒行為,很顯然污泥的燒結或煅燒已越來越不符合國內節能減排的發展方向。因此,開展污泥干化及非燒結型資源化利用成為了材料專家新的研究方向,有利于節約資源和環境保護,故提出一種市政污泥免燒陶粒成型裝置。
本實用新型要解決的技術問題是克服現有技術的缺陷,提供一種市政污泥免燒陶粒成型裝置,不僅結構簡單,使用方便,操作安全可靠,而且可以減少對生產現場的污染,節約了工人的勞動力:
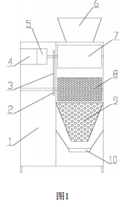
本實用新型一種市政污泥陶粒成型裝置,其特征是該市政污泥陶粒成型裝置主要由機架、齒輪、鏈條、電動機、減速機、進料口、擠壓輥、成型輥、分離篩和回收料斗組成,所述的機架下部四個角分別有四個支架,所述的電動機與減速機直接連接,所述的一個擠壓輥與減速機共軸,并且在該擠壓輥與減速機之間固定有一個齒輪,所述的進料口位于擠壓輥上方,所述的成型輥也有兩個,位置分別與兩個擠壓輥上下對應,兩個擠壓輥也是通過齒輪傳動,所述的分離篩傾斜固定于成型輥的下方,所述的回收料斗位于分離篩的下方。
作為本實用新型的一種優選技術方案,兩個擠壓輥的位置水平對應,并且通過齒輪傳動,并且二者的間距為5mm~30mm。
作為本實用新型的一種優選技術方案,所述的進料口位于擠壓輥上方,呈方形漏斗狀。
作為本實用新型的一種優選技術方案,所述的成型輥筒體上均勻分布有直徑10mm~20mm的半圓形凹槽。
作為本實用新型的一種優選技術方案,所述的分離篩通過偏心輪機構與減速機主軸連接,使得分離篩隨著電動機轉動而震動。
作為本實用新型的一種優選技術方案,所述的分離篩的傾斜角度30°~45°,四周的邊緣向上翻折,下部出料口的寬度逐漸收縮,分離篩上面均勻分布有直徑8mm~18mm的圓孔。
本實用新型所達到的有益效果是:本實用新型不僅結構簡單,使用方便,安全可靠,而且減少了人工勞動強度,提高了生產效率。
市政污泥免燒陶粒設備之成型裝置結構圖說明

圖1是本實用新型所提出的一種市政污泥免燒陶粒成型裝置的示意圖。
圖1中:
1、機架;2、齒輪;3、鏈條;4、電動機;5、減速機;6、進料口;7、擠壓輥;8、成型輥;9、分離篩;10、回收料斗。

企業新聞

