氟化鈣污泥陶粒砌塊技術
工業生產對含氟廢水、廢氣的不徹底治理,容易造成動植物、人體的危害。含氟工業污泥的主要成分仍是氟化鈣、硫酸鈣,這兩類物質是良好的工業原料,若填埋處置,勢必造成資源浪費及環境危害。因此,需對此類物質進行資源化利用,這樣既消除了氟的污染,有利用了有限的氟資源。以減量化、無害化、資源化作為整個研究工作的指導思想,通過分析含氟工業污泥的理化性質,結合陶粒設備生產工藝和原料的特點,以污泥為主要原料,以高嶺土、粉煤灰等為輔料,在一定的工藝條件下,控制污泥的脫碳和燒脹,生產陶粒。同時,對產品在電鍍廢水的處理中的應用前景加以試驗論證。所制取的陶粒除了用做吸附劑外,還可以廣泛地應用于防火、保溫、隔音、防水等建筑材料的原料 ;水處理的濾料 ;及農業、園林中的無土栽培的培養基等。從而解決了污泥堆放占地、處理費用高等問題,具有顯著的環境效益、社會效益和經濟效益,開辟了一條城市生活污泥處理、處置和資源化的新途徑。
為解決現有技術的不足,本實用新型的目的在于提供一種新型氟化鈣污泥陶粒砌塊,解決含氟化鈣、硫酸鈣的工業污泥處理問題,保護了環境,開辟了一條城市生活污泥處理、處置和資源化的新途徑。
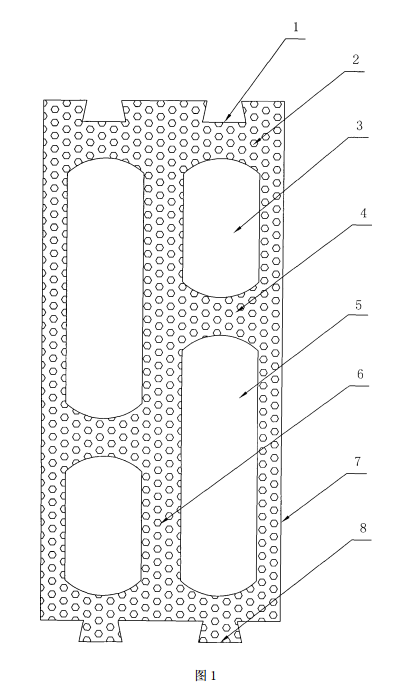
1、為達到上述目的,本實用新型是通過以下的技術方案來實現的 :新型氟化鈣污泥陶粒砌塊,特征在于砌塊殼體內設有兩排平行的孔,孔與孔之間設有加強筋,殼體與加強筋內設有氟化鈣污泥制成的陶粒 ;砌塊的一端設有雙榫,另一端設有與榫配合的雙槽。
進一步,每排孔設置一個大孔,一個小孔,大孔與小孔交錯排列。
兩排孔之間設有主加強筋,同一排的孔與孔之間設有輔助加強筋。
2、本實用新型的有益效果是 :
設置雙排孔可以減輕砌塊的重量,設置加強筋可以增加砌塊的承重力,設置雙榫槽,可以使砌塊砌的墻更加堅固,殼體與加強筋內設置氟化鈣污泥制成的陶粒,解決含氟化鈣、硫酸鈣的工業污泥的處理問題,保護了環境,開辟了一條城市生活污泥處理、處置和資源化的新途徑。
3、附圖說明

附圖 1 為氟化鈣污泥陶粒砌塊的截面圖 ;
圖中所示 :1、槽,2、陶粒,3、小孔,4、輔助加強筋,5、大孔,6、主加強筋,7、殼體,8榫。
4、具體實施方式
實施例 :一種新型氟化鈣污泥陶粒砌塊,砌塊殼體 (7) 內設有兩排平行的孔,孔與孔之間設有加強筋,殼體 (7) 與加強筋內設有氟化鈣污泥制成的陶粒 (2) ;砌塊殼體 (7)的一端設有雙榫 (8),另一端設有與榫配合的雙槽 (1)。每排孔設置一個大孔 (5),一個小孔 (3),大孔 (5) 與小孔 (3) 交錯排列。兩排孔之間設有主加強筋 (6),同一排的孔與孔之間設有輔助加強筋 (4)。設置雙排孔可以減輕砌塊的重量,設置加強筋可以增加砌塊的承重力,設置雙榫槽,可以使砌塊砌的墻更加堅固,殼體與加強筋內設置氟化鈣污泥制成的陶粒, 解決含氟化鈣、硫酸鈣的工業污泥的處理問題,保護了環境,開辟了一條城市生活污泥處理、處置和資源化的新途徑。

企業新聞

