具有污泥陶粒的墻體預制件
工業廢渣,尤其是固體廢物的綜合利用是國家提倡的一項基本政策。工業廢渣在建筑材料中的應用日益增多,但是固體廢物一污水處理廠水處理后的沉淀污泥在建筑材料中的應用尚屬稀見。目前,大多墻體材料生產廠家采用將粉煤灰、建筑垃圾、爐渣、石粉等工業廢渣粉碎成粉狀物再與其它材料(水泥、石灰等)混合成型為墻板或砌塊。用運所述的粉體工業廢料成型的預制件強度較低,而若想達到工程要求的強度就必須采用高標號水泥和加大水泥成份的比例數。因此陳舊的所述粉體工業廢料直接制成的墻板或砌塊等預制件重量較重,強度相對較低,保溫性、隔熱性差、含水率高、冷凍性差等蹩病。
本實用新型目的在于提供一種具有污泥陶粒的墻體預制件,以克服粉狀工業廢料直接制作墻板砌塊等預制件所存在的蹩病。
一、本實用新型采用的技術方案為:這種具有污泥陶粒的墻體預制件,包括墻板或砌塊預制件,其特征在于:在制成的預制件中還具有與水泥材質有界面的球形污泥陶粒。
二、本實用新型優點在于:采用先將污水處理廠的沉淀污泥與改性劑混合碾研、陳化處理后與水泥等物料混合制成球形污泥陶粒,再與水泥、粉煤次等混合制成砌塊、墻板預制件的技術手段,與直接用工業廢渣粉作為骨料的公知技術相比具有增加預制件強度的優點,賦予砌塊、墻板輕質、高強,提高了砌塊、墻板的保溫、隔熱和抗凍性能,降低了砌塊、墻板的含水率。從而使污泥資源化,將污泥化害為益,“變廢為寶”再生利用:對生態環境、土地資源保護,墻體改革,建筑節能事業意義深刻,符合創建節約型社會的國策,更符合可持續發展的產業政策。

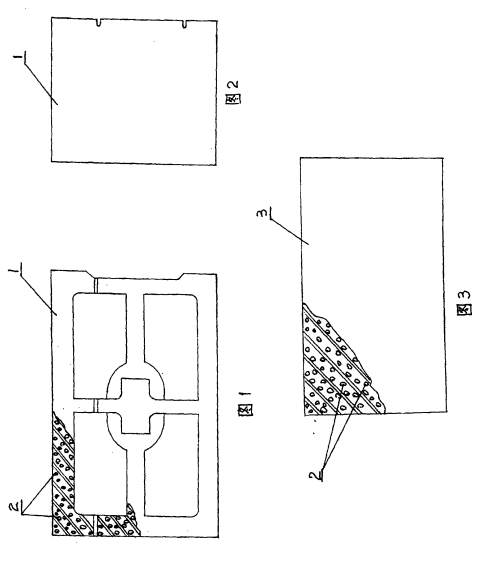
圖1為本具有污泥陶粒的墻體預制件____砌塊的構造示意圖。
圖2為圖1的左視圖。
圖3為本具有污泥陶粒的墻體預制件____墻板的構造圖。
下面接合附圖給出的實施例進一步描述。參見圖1所示砌塊,由其成型后的陪面圖可見:在制成砌塊(1)的材料中具有球形污泥陶粒(2),該球形污泥陶粒(2)是由百分之六十的粉狀(直徑為0.8-2mm)污泥,百分之十的改性劑,百分之十粉煤灰,百分之二聚合劑共同混合碾研后陳化處理,最后與百分之十八水泥混合后,用造粒機造粒,形成粒徑為①5-①10毫米的球形污泥陶粒(2),自然干燥即可。利用球形污泥陶粒(2)制成如圖1所示砌塊(1)的制造過程是:用百分之六十的球形污泥陶粒(2)、百分之十二的粉煤灰、百分之二十五的水泥、百分之三的添加劑充分混合后用模具制成砌塊(1)即可。形成砌塊(1)后,在砌塊(1)上任何剖切平面(假想)均可割切出如圖1所示狀____即球形污泥陶粒(2)與水泥、粉煤灰等材質具有明顯的界面。
如圖3所示具有污泥陶粒的墻板(3)構造與圖1相類同,即在制成墻板(3)內具有與水泥、粉煤灰混合物有明顯界面的球形污泥陶粒(2)。

企業新聞

